
美国定制安装领军品牌Origin Acoustics
以其卓越的技术实力和创新设计
成功推动了定制音响行业的变革
从 1976年 诞生至今
Origin Acoustics 一直致力于
为全球消费者提供卓越的音响体验
凭借一系列前沿的技术突破和专利
成为定制音响领域的重要标杆
起源与创立(1976年)
故事始于 1976年
当时 Ken Humphreys 和 Ed Haase
在加利福尼亚州里弗赛德开设了一家小型立体声商店。作为音响发烧友,二人深刻认识到外摆式音箱会使房间杂乱无章,而嵌入式音响系统则能够解决这一问题,提供一种更美观且高效的解决方案。
凭借对音响技术的深刻理解和不懈探索
他们开始致力于研发嵌入式音箱系统
这一创新不仅改变了家庭音乐聆听的方式
也推动了定制安装音响行业的崛起

1978年:世界上首款吸顶音箱
这个设计解决了音响占用空间和外观不协调的问题
为家庭娱乐带来了极大便利
1979年:世界首款高音可调整音箱
设计和生产了世界首款高音可调整音箱
提高了音响系统的灵活性
使得用户可以根据不同的聆听需求调整音质
1982年:发明了世界首款入墙音箱
这一创举不仅改变了家庭音响的布置方式
也为定制安装行业奠定了基础


发展壮大(1980s-2000s)
Origin Acoustics 作为技术创新的先驱
其后续的研发成果不断推动音响产品的技术发展
从 1984年 到 1994年
品牌通过一系列技术突破
牢牢占据了定制安装音响的领导地位
1984年:首创模压塑料挡板安装方式
扬声器的安装更加高效且具有成本优势
1985年:首创入墙式安装支架并申请了专利

1986年:世界首个嵌墙低音炮系统
将低频性能的提升带入家庭影院领域
在空间紧张的房间中也能发挥出色的低频响应
1988年:发明降噪吸顶式低音炮系统
有效减少了由于安装环境引起的低音失真
提升了音响系统的整体音质
1991年 引入可调角度的高音设计
为嵌墙扬声器注入了新的活力
根据不同房间的布局调整声音输出
满足用户的个性化需求



延续与创新
1994年创立SpeakerCraft 品牌
正式将其技术创新推向全球
Jeremy Burkhardt 的加入
为公司注入了新的活力
并推动其成为音响行业的革新者之一
1995年:首个符合 UL 标准的防火背箱
提升了音响系统的安全性
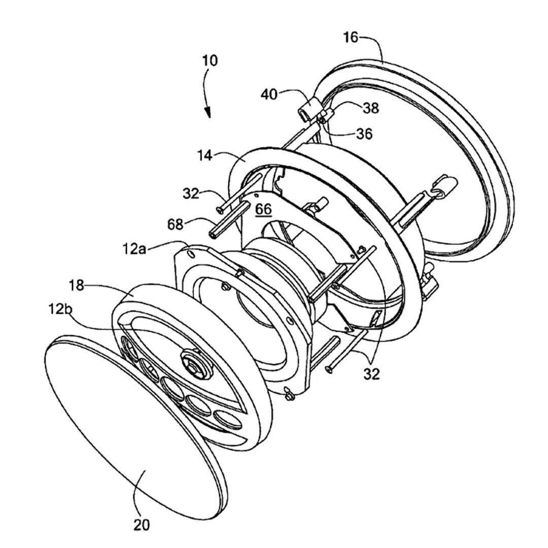
1996年:获得 I-beam 安装系统的专利
进一步简化了扬声器的安装过程
使得定制安装音响系统更加便捷
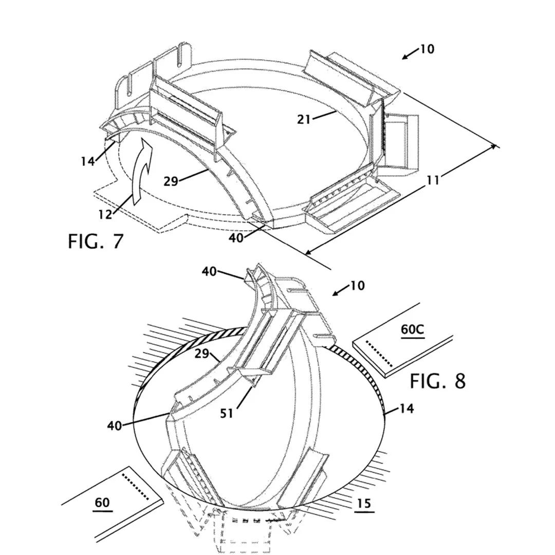
1997年:发明Aimable 扬声器
首款用于吊顶安装的“aimable”扬声器专利



进入21世纪后,
Origin Acoustics不断拓展技术边界
始终站在音响技术创新的最前沿
通过一系列智能化设计与技术突破
品牌推动音响产品向更高层次的发展
2006年:Aimable In-Wall上市
首个壁挂式安装扬声器的可调节指向性专利

2007年:获得AIM® 扬声器专利
为定制音响系统的灵活安装提供了更高的设计自由度
使扬声器能够更精准地指向特定听音区域
2010年 :DPSD®高音扬声器获得专利
通过轴向稳定设计进一步优化了高音的表现
避免了传统高音扬声器的音质失真



回归与重塑
在 2012年,Jeremy Burkhardt、Ed Haase 和 Ken Humphreys 三位创始人决定再次联手,
重塑建筑类扬声器的标准

2013年:免工具革命开始
Origin Acoustics团队申请免工具安装系统的专利

2014年:Origin Acoustics 品牌正式创立
从核心技术到更高端品牌的全面转型
通过精密的工程技术和独特设计,将扬声器无缝融入现代家居环境,同时提供更高的音质表现。Director系列:采用专利设计,实现扬声器旋转与调整角度功能,使声音分布更加精准。ThinFit系列:针对狭窄墙体设计的超薄扬声器。
系列:针对狭窄墙体设计的超薄扬声器。
2016 年:Origin Acoustics 与丹麦著名音响品牌 Bang&Olufsen 共同设计制造了 Celestial 与 Palatial 系列扬声器
赢得全球众多用户信赖和好评,后来还成为 Bang&Olufsen 美国定制渠道全线产品的负责人

2017年:在 CE Pro 品牌分析中被评为第二大最受欢迎的嵌入式扬声器品牌。开发环境声学控制技术,为商业与家庭环境提供最佳听音体验。持续推出创新系列产品,包括Outdoor Landscape系列、Subwoofer嵌入式低音炮系列,拓展了品牌的应用场景。

品牌理念与未来展望
今天,Origin Acoustics 已经成为
定制音响领域的技术先锋
无论是通过 ZipClip® 和 SpringLock®
免工具安装系统 简化安装流程
还是通过 自动声学调节技术
提供量身定制的音质优化
Origin Acoustics
始终专注于为消费者提供最先进、
最便捷的音响解决方案
结语
Origin Acoustics 以其不断创新的技术实力、
出色的产品设计和卓越的音响效果,
赢得了全球用户的高度赞誉。
无论是在 嵌入式音响、智能音响系统,
还是 音响安装系统 的创新上,
Origin Acoustics 都始终走在行业前沿,
继续书写着音响技术的新篇章。